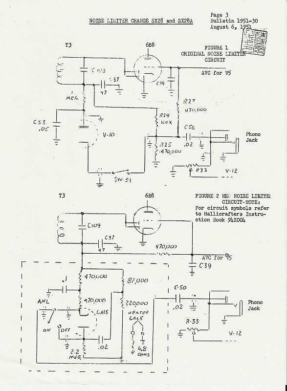
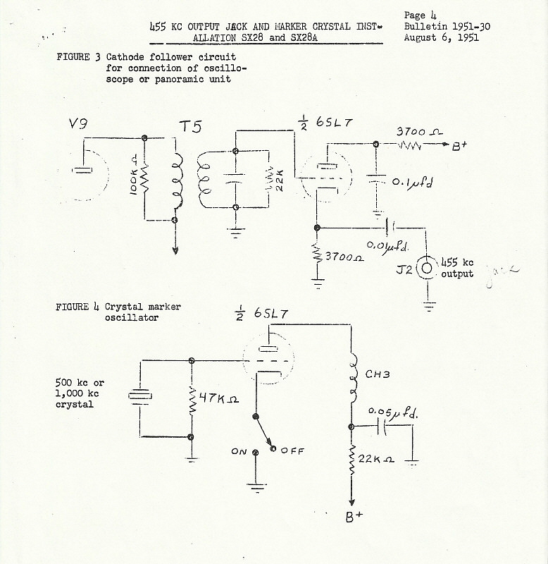
| The following four pages are the Hallicrafters' Service Bulletin
1951-30 which describes the installation of a shunt type noise limiter
and the installation of a crystal calibrator and a panadapter
connection. The bulletin is from August 6, 1951. Quality is not too great
because the original was printed on yellow paper and this scan was of a
copy (on white paper) of the original. By making this Service Bulletin
available it should not be inferred that we advocate the installation of
these modifications. Click the Back Button to return to the SX-28 article. |
|
|
![]() |
|
|
![]() |